Signed in as:
filler@godaddy.com
Signed in as:
filler@godaddy.com

We build protocol-agnostic architectures designed for operational reality. Whether optimizing winery yields or automating smart city intersections, we engineer systems that integrate complex physical infrastructure with digital precision.

Don't get stuck in certification purgatory. We deploy our proprietary 5-Step Compliance Cycle to secure global approvals (FCC, CE, RoHS) and harden infrastructure against cyber threats (PenTests, HIPAA). We engineer the certainty that you are legal and secure.

We tear down to build up. Our reverse engineering and BOM analysis expose the hidden costs, quality flaws, and supply chain risks in your hardware. We follow the data to tell you the unvarnished truth about your build.

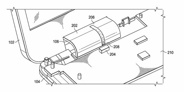
We take concepts from 'back-of-a-napkin' sketches to mass production. We architect custom sensors, gateways, and accessories that survive in the wild, leveraging a track record of over 4 million devices delivered and multiple US patents, like the hinge mechanism shown above.
Copyright © 2026 EoT - All Rights Reserved.
Follow the Data™